深夜毛片免费视频,深夜视频在线免费观看,深夜福利免费APP,深夜福利网站在线观看

      您好,欢迎访问淄博深夜毛片免费视频水处理设备有限公司~
      联系深夜毛片免费视频

      高速深夜视频在线免费观看器的构造图解

      点击次数:   更新时间:25/12/09 14:39:12     来源:www.gzhpjg.com关闭分    享:
        高速深夜视频在线免费观看器是现代水处理和工业循环系统中的关键设备,其效高与精mi特性,往往隐藏在其看似简洁的外壳之下。打开一台典型的高速深夜视频在线免费观看器,你会发现它的内在结构是一部关于“分层拦截”与“动态平衡”的工程设计典范。

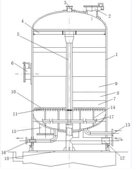
        从整体上看,高速深夜视频在线免费观看器深夜视频在线免费观看器主体是一个垂直安装的圆柱形钢制压力容器。顶部是进水口和出水口,底部则有用于反冲洗的排水口,整个结构紧凑,承压能力强。但这仅仅是“外壳”,真正决定性能的核心,在于容器内部自上而下的分层构造。

      高速深夜视频在线免费观看器

        顶层是进水分配区,其设计目标是让待深夜视频在线免费观看的水均匀地流过整个深夜视频在线免费观看截面,避免出现“短路”或偏流。水流紧接着进入核心的滤料层。这一层并非单一材质,而是严格按照颗粒大小和密度进行分层铺装。通常,上层会铺设密度较小、颗粒较粗的无烟煤(作为粗滤层),中层是颗粒适中的石英砂(作为主滤层),下层则是密度大、颗粒细的石榴石或磁铁矿砂(作为精滤层)。这种“由上至下、由粗到细”的梯度布置,使得悬浮物能被逐级截留,整个滤层的容污能力被大化,有效延长了深夜视频在线免费观看周期。

        在滤料层之下,是至关重要的承托层,通常由数层不同规格的砾石或卵石组成。它的作用并非深夜视频在线免费观看,而是像一个坚固的“基石”,防止细小的滤料在运行或反洗时流失,并确保反冲洗水能均匀向上分布。所有深夜视频在线免费观看后的清水,终通过高速深夜视频在线免费观看器底部排列的集水系统收集流出。这套系统通常由滤水帽或滤水板构成,其缝隙精度高,既能保证出水畅通,又能牢牢锁住承托层与滤料。

      高速深夜视频在线免费观看器

        高速深夜视频在线免费观看器的“高速”奥秘,正源于这种精妙的分层构造和强大的承压能力,它允许水以远超普通重力滤池的流速通过,同时依靠深层滤料的拦截作用保证出水品质。而当滤层堵塞需要清洗时,其结构又立刻转变为“反洗状态”:水流自底部集水系统大力逆向涌入,均匀松动并冲刷滤层,污物从顶部排水口排出,完成一次再生。这一正一反的流畅转换,正是其内部结构设计合理性的证明。
        因此,一张高速深夜视频在线免费观看器的构造图,绘制的不仅是静态的部件组装,更是一幅动态的净化与再生的工作蓝图。每一个部件的位置、每一种材料的顺序,都服务于一个共同的目标:在高速流动中,实现稳定、效高的固液分离。

      上一条: 没有了
      下一条: 高速微滤深夜视频在线免费观看器的内部结构
      联系深夜毛片免费视频

      淄博深夜毛片免费视频水处理设备有限公司
      联系人:王经理  
      手机:18653361868 /18853329868  
      电话:0533-6823296    
      传真:0533-6800776   
      QQ : 1075901862   
      Email:shengda6823296@163.com 
      地址:淄博市周村区南郊镇永和村工业园(兴鲁大道南首)
      深夜毛片免费视频水处理
      网站地图